《微信》打印机后台设置操作方法教程
这次微信上线的打印机功能可以说有时一个黑科技,以后打印照片非常的方便,在公众号里进行操作就可以完成打印。并且这次的打印机功能还可以加入到自己的微信公众号里,加入了这个功能,有什么理由不吸粉呢?

微信点击
微信打印机怎么设置?
1、公众号(包括服务号和订阅号)和微信机如何绑定?

微信接入
2、进入微信机后台点击公众号管理

微信第三方平台
3、点击新增公众号

微信机器
4、登陆微信公众平台:公众号平台登陆:

微信公众号
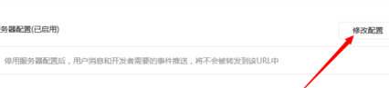
5、进入公众号后进入公众号设置:(点击右上角如图所示)
在微信机平台填写相对应的公众号名称和原始ID

6、填写完后上传二维码图片,以及勾选公众号是否有认证(是否认证都可以实现照片打印功能,但是未认证的公众号是不能制作留声卡的)
二维码的下载方式:

7、在公众号设置里点击二维码-更多尺寸,
会弹出窗口见下图

8、选择建议扫描距离1m的下载
下载后即可上传。

9、开发者app填写:
在微信公众平台点击开发者中心



10、接入方式设置:

11、选择是否已接入第三方平台(已接入第三方平台即是说以前有接入过其他第三方平台,未接入表示没接入过其他第三方平台)

12、(如果已接入第三方平台,URL和Token是已经被填写过的;未接入的则是没开通第三方平台的,也没有填写URL和Token的)

13、在微信公众平台开发者中心点击修改配置,如上图所示

14、如果是未接入第三方平台的,
直接复制微信机平台的URL和Token到微信公众平台开发者中心即可,如上图所示。

15、如果是已接入第三方平台的,
则需要将我们的URL复制到微信公众平台开发者中心,保留原先的Token。


(上图所示,保留之前原有的Token,URL复制微信机平台的。)
然后在微信机后台填写对方的微信公众平台开发者中心原有的URL
填写微信机的Token(weixin)
如下图所示:

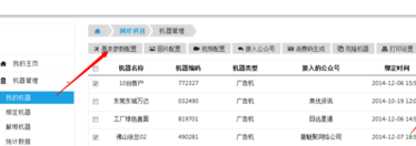
2、如何上传视频?
进入后台-机器管理-我的机器,,勾选某台机器,点击视频配置,或者直接点击某台机器后面的视频图标。


3、如何上传广告图片?
选择某一台机器,点击图片配置,或者某台机器后面的图片图标。


点击即可上传图片,上传完成后,再点击上传,如下图所示:

4、怎样设置收费模式?
选择某台机器,点击基本参数配置,或者点击某台机后面的设置按钮。


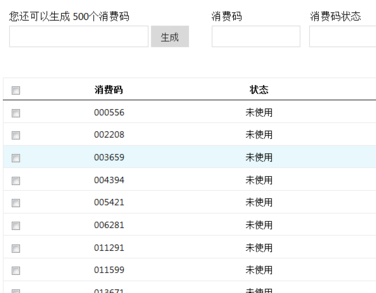
5、消费码是怎样生成的?
选择某一套机器,点击消费码生成。


输入数值,便可生成相应的消费码。
消费码生成后回到–机器基本配置

6、微信机模板怎么改?
在机台基本配置里面:

7、主公众号、副公众号怎么上传?
在公众号设置里面多添加多个公众号

在我的机器里面选择某台机器,点击公众号接入,或者机器后面的微信图标
然后会看到如下图所示,最后勾选某个公众号,即可绑定。可绑定一个或多个公众号。


微信应用相关内容
-
-
-
-
-
-
-
《微信》送礼物功能使用方法
答:在好友聊天对话框点击礼物功能进入选择礼物进行赠送。 1、首先我们需要打开微信找到一个需要送礼物的好友在聊天对话框页面。 2、打开微信聊天框,点击右下角的加号图标,展开多个功能菜单,选择礼物进入。 3、在礼物功能界面选择一个需要赠送的礼物,选完之后...2025-08-24 -
《微信》视频号开店卖东西方法教程2025
1、登陆微信,在“发现”页面,点击进到“视频号”。 2、点击右上角的个人头像。 3、在“我的视频号”下,点击头像。 4、进到视频号首页,点击右上角的三点。 5、在设置页面,选择“我的商店”。 6、点击“免费开店”,完成设置即可。 微信视频号直播间怎么...2025-08-24 -
《微信》零钱免费转到银行卡方法一览
1、有免费额度,直接提现 单个身份证终身享有1000元免费零钱提现额度,因此,只要用户有1000元的免费额度时,可以直接从微信中提现小于或者等于1000元,是不收取手续费用的,具体步骤如下: 登录微信app,点击服务选项; 在服务界面点击钱包选项; ...2025-08-23 -
发表回复
评论列表 ( 0条)